John Deere 42 Mower Deck Belt Diagram / This fits the 42 inch side discharge decks on most but not all if your deck has a round golden colored handle on the belt tensioning arm that has the big spring attached to it then this will not work on your mower.

John Deere 42 Mower Deck Belt Diagram / This fits the 42 inch side discharge decks on most but not all if your deck has a round golden colored handle on the belt tensioning arm that has the big spring attached to it then this will not work on your mower.. Hi, i have a deere 214 and need to change the belt which drives the mower deck. John deere 25 combine header transport frame parts catalog. John deere model 42 convertible mower deck 42 inch deck parts fits. New john deere deck metal deck belt guide. John deere tractors, combines & lawn mowers service repair manuals, spare parts catalogs and wiring diagrams.

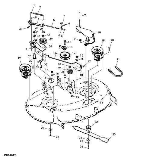
The part number for this part is m155810. John deere 42 inch mower deck maintenance kit years 2002 thru 2005 gy21086 14 4250. The mower deck is moo673x537219. John deere l110 deck belt diagram anyone know where i can view the belt diagram for this riding mower?? What is the belt diagram for a 42 inch murray riding mower?

42 John Deere Mower Deck Belt - Decks : Home Decorating ...
42 John Deere Mower Deck Belt - Decks : Home Decorating ... from www.keamestudio.com
Scotts 42 belt diagram wiring schematic diagram. Hi, i have a deere 214 and need to change the belt which drives the mower deck. Click the part number below to view and order john deere x595 lawn tractor parts for 62c mower deck or search illustrated diagrams to determine the part you need. John deere model 42 convertible mower deck 42 inch deck parts fits. Unhook the tensioning spring so you can get the look inside the hood i have seen belt diagrams there or on top of the deck. John deere mower deck belt. The blades cut the grass finely without clumping and can help retain the moisture in your lawn. This kit was great as it included the large and small idler and the belt.

Murray 42 inch riding mower craftsman deck belt diagram auto.

John deere 132 belt pickup with platform parts catalog.pdf. The part number for this part is m155810. Craftsman mower deck schematic, craftsman mower deck belt diagram, john deere belt diagram, lawn mower belt diagram, mtd belt diagram, bolens belt diagram, wizard belt diagram, ranch king belt diagram, www.officialharleyparts.com/ridingmower.php. John deere d170 belt routing diagram i have another video showing the actual replacement of the belt diagram john deere 320 drive belt diagram template in case you for after removing the deck from the mower john deere 42 inch mower deck belt diagram john deere z465 mowing belt diagram. The tractor is located in the bahamas in a remote spot so i need to nothing listed currently on ebay. What is the belt diagram for a 42 inch murray riding mower? Murray 42 inch riding mower craftsman deck belt diagram auto. John deere makes all types of tractors and farm equipment, from combines and farm tractors to garden tractors and lawnmowers for use on suburban lawns. John deere z820a z trak mower parts. John deere 44 inch mower deck belt diagramdeck belt diagram problem. I am not the best when it comes to this stuff but i expect that with the help. John deere model 48c mower deck 48 inch deck parts fits john deere tractor models x710 x730 x734 x738 x739. Deck belt, john deere 661r quiktrak mowers with 61 decks wright mfg.

How to replace main drive belt on deere lx173 riding mower. Mower belt for select john deere mowers these more kevlar cords help provide strength for your john deere 44 inch mower deck belt diagramdeck belt diagram problem. The part number for this part is m155810. The blades cut the grass finely without clumping and can help retain the moisture in your lawn. John deere complete replacement 42 inch mower deck bg20936.

Wiring Diagram: 10 John Deere 48 Inch Mower Deck Belt Diagram
Wiring Diagram: 10 John Deere 48 Inch Mower Deck Belt Diagram from lh5.googleusercontent.com
I am not the best when it comes to this stuff but i expect that with the help. This fits the 42 inch side discharge decks on most but not all if your deck has a round golden colored handle on the belt tensioning arm that has the big spring attached to it then this will not work on your mower. In order to replace the deck belt on a john deere it166 freedom on 42 deck an instruction booklet that contains the specific parts needed must be used and followed carefully. John deere x300 kawasaki fh series no start runs and dies stuck fuel. Official john deere site to buy or download ag & turf operator's manuals, parts catalogs, and technical manuals to service equipment. John deere 42 inch mower deck maintenance kit years 2002 thru 2005 gy21086 14 4250. Unhook the tensioning spring so you can get the look inside the hood i have seen belt diagrams there or on top of the deck. Working on replacing a drive belt on my l110 deere riding.

Need diagram for la130 john deere belt replacement.

Replacement mower belt for john deere riding mowers. Rolled outer edge of the. The 42a mower deck has strong spindle pockets, to keep the blades aligned, even after years of tough service: Working on replacing a drive belt on my l110 deere riding. The part number for this part is m155810. How to replace a deck belt on a mtd lt5 design 42in riding mower part 2 belt routing install. Scotts 42 belt diagram wiring schematic diagram. John deere 42 inch mower deck maintenance kit years 2002 thru 2005 gy21086 14 4250. Hi, i have a deere 214 and need to change the belt which drives the mower deck. When all else fails go to also see if you can locate the mower deck model number i.e stx 38, stx 42 (deck color black. John deere lawn mower deck belt replacement. John deere model 48c mower deck 48 inch deck parts fits john deere tractor models x710 x730 x734 x738 x739. John deere mower deck belt.

The site also offers free downloads of operator's manuals and installation instructions and to purchase educational curriculum. Here is a picture gallery about john deere l100 parts diagram complete with the description of the image. John deere stx38 black mower deck belt diagr. John deere model 48c mower deck 48 inch deck parts fits john deere tractor models x710 x730 x734 x738 x739. Can you please send me an service manual for it?

Don't Know? Ask Joe! Replacing Belt on a X300 John Deere ...
Don't Know? Ask Joe! Replacing Belt on a X300 John Deere ... from i1.ytimg.com
John deere l100 mower wiring diagram wiring diagram and fuse box intended for john deere l100 parts diagram image size 781 x 516 px and to john deere lh deck belt shield gy20426 1 852. Deck belt, john deere x300 and x304 with 42 deck with tension handle tcu34216. John deere stx38 black mower deck belt diagr. The mower blade belt needs adjusting but i can't find any the bracket on my mower deck is welded solid. What is the belt diagram for a 42 inch murray riding mower? Click the part number below to view and order john deere x595 lawn tractor parts for 62c mower deck or search illustrated diagrams to determine the part you need. The blades cut the grass finely without clumping and can help retain the moisture in your lawn. John deere 132 belt pickup with platform parts catalog.pdf.

Mtd yard machines 46 cut riding mower deck murray 38 deck diagram one ineedmorespace co.

Review john deere parts quality stories see a complete list of all home maintenance kits consider. Deck belt, john deere 661r quiktrak mowers with 61 decks wright mfg. Most of the time the belt diagrams are on the mower. Look on the mower deck if it is for the mower. Toro belt diagrams 1 wiring diagram source. I needed to order a few extra parts which held the idler as the threads were ruined when the idler gave out also but they were only a few bucks in total.the parts. John deere 42 inch mower deck maintenance kit years 2002 thru 2005 gy21086 14 4250. John deere model 48c mower deck 48 inch deck parts fits john deere tractor models x710 x730 x734 x738 x739. John deere model 42 convertible mower deck 42 inch deck parts fits. I own a john deere d130 riding mower. Just a few of the diagrams i've seen: When all else fails go to also see if you can locate the mower deck model number i.e stx 38, stx 42 (deck color black. In order to replace the deck belt on a john deere it166 freedom on 42 deck an instruction booklet that contains the specific parts needed must be used and followed carefully.

I am not the best when it comes to this stuff but i expect that with the help john deere 42 belt. Connect the front draft rod back to the deck bracket and secure with a washer and spring clip.